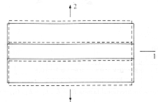
The Isostress Situation: Normal Loading
Back
   

From: Hull, "An Iintroduction to Composite Materials," Cambridge (1981)

For isostress, loading is in the 2 direction and the stress seen by each component is the same so that:

sc = sf = sm

All the components remain in the elastic range
obeying Hooke's Law: s = Ee

The total strain in the 2 direction is the volume fraction weighted sum of the strain of the components: ec = Vfef + Vmem

Substitute into this expression from Hooke's law and divide through by si :1/Ec = Vf/Ef + Vm/Em

so that: Ec = {EfEm}/{VfEm + (1- Vf)Ef}